ПИЛА ЛЕНТОЧНАЯ ДЛЯ МЯСОПРОДУКТОВ ПЛМ-240

Оборудование включено в Реестр евразийской промышленной продукции Министерства промышленности и торговли России.

Общество включено в Реестр добросовестных партнеров БелТПП.

В 2018 году мы освоили производство совершенно нового оборудования с учетом современных требований к качествудизайну и производственным характеристикам!

Пила ленточная для мясопродуктов ПЛМ-240 предназначена для быстрого распила охлажденного и замороженного мяса, а также мяса с костями или костей на порции различной величины.

Выпускается в исполнении УХЛ 4 по ГОСТ 15150-69.

Отличается надежностьюбезопасностью и соответствием техническим регламентам Таможенного (Евразийского экономического) союза, простотой обслуживания и длительным сроком эксплуатации.

В комплекте 2 полотна!

Корпус выполнен из высококачественной нержавеющей стали, в напольном исполнении, на четырех регулируемых опорах, при помощи которых можно выставлять машину на неровной поверхности. 

Максимальная высота реза - 323 мм, ширина реза - 280 мм, комплектуется устройством для разрезания последней порции продукта.

Стол пилы оснащен дополнительным подвижным откидным столом, при помощи которого можно нарезать охлажденное мясо. Для удобства нарезки кусков нужной толщины на столе нанесена линейная шкала с градацией в 5 мм.

Шкивы изготовлены из нержавеющей стали. Предусмотрена защита от сбега полотна.

Пила ПЛМ-240 производится в соответствии с требованиями стандарта СТБ ISO 9001-2015, имеет  Декларацию о соответствии ЕАСДЕКЛАРАЦIЮ ПРО ВIДПОВIДНIСТЬ ПРОДУКЦII ВИМОГАМ ТЕХНIЧНИХ РЕГЛАМЕНТIВ.

\

Основные технические характеристики пилы

Наименование параметра

ПЛМ-240

Техническая производительность, кг/ч*

500

Потребление электроэнергии, кВт

2,0

Установленная мощность, кВт

1,5

Длина, ширина, толщина ленточного полотна, мм, количество зубьев на дюйм

2490 х 20 х 0,6 х 4 мм

2490 х 20 х 0,56 х 3 WM мм

Высота резки, не более, мм

323

Питающая электросеть:

род тока

номинальное напряжение, В

частота тока, Гц

трехфазная

 переменный

380

50

Габаритные размеры, мм, не более

длина

ширина

высота

 

805

735

1750

Масса, кг, не более

129

* - Техническая производительность пилы зависит от скорости подачи продукта оператором, размеров, плотности и сортности перерабатываемых кусков продукта.

Состав машины

Обозначение

Наименование

Количество штук на пилу

ПЛМ-240

Пила ленточная с полотном

2490 х 20 х 0,6 х 4 мм

1

Кабель H05VV5-T5G1 (либо другой с аналогичными характеристиками), общая длина 3,6 м

1

Комплект запасных частей

 

Полотно пилы ленточной

2490 х 20 х 0,56 х 3 WM мм

1

Комплект принадлежностей

 ПЛМ-240.92.000

Устройство для разрезания последней порции продукта

1

 

Ключ 7811-0109 С 1х9 ГОСТ 2841-80

Розетка стационарная ССИ-115 16А, 240/380 3Р+РЕ+N, IP44

1

1

 

Рым-болт М12 ГОСТ 4751-73

Ключ 7811-0121 С 1х9 ГОСТ 2841-80

2

1

Комплект тары

 

Ящик упаковочный

1

Документация

ПЛМ РЭ

Руководство по эксплуатации

1

ПЛМ Д1

Памятка по обращению с пилой

1

(в составе РЭ)

ПЛМ Д2

Инструкция по технике безопасности при эксплуатации пилы

1

(в составе РЭ)

 

Устройство и работа пилы

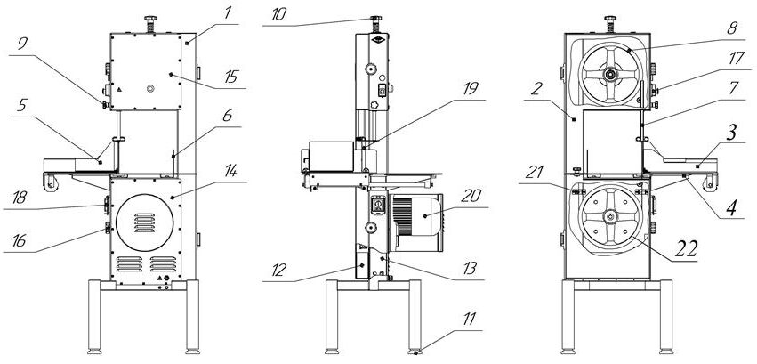
Пила приводится в действие двигателем 20, на котором закреплен шкив ведущий 22. Шкив ведущий 22 совместно со шкивом ведомым 8 приводят в действие пилу ленточную 19. Натяжение пилы ленточной осуществляется путем вращения ручки лепестковой 10. Распил продукта производится путем пропуска его через пилу ленточную 19. Ширину реза можно регулировать при помощи ограничителя 6. Для распила охлажденных продуктов можно использовать стол подвижной (откидной) 4. Для облегчения разрезания последней порции продукта необходимо использовать устройство для разрезания последней порции продукта 5. Для удобства работы на пиле, в зависимости от высоты распила продукта, необходимо оптимально выставлять по высоте планку защитную 7 и фиксировать ее ручкой лепестковой 9. Запрещается использовать пилу без стола подвижного (откидного).

1 - корпус; 2 - дверца; 3 -  стол утолщенный;   4- стол подвижный (откидной);   5 - устройство для разрезания последней порции продукта; 6- ограничитель;

7- планка защитная;  8 – шкив ведомый;   9  – ручка лепестковая (для фиксации планки защитной); 10– ручка лепестковая; 11- опора регулируемая; 

12 - лоток;  13 - кожух; 14 – щиток электродвигателя;            15 - крышка;   16 – кулачок зажимной; 17- кнопка «Пуск-Стоп»;  18– автоматический выключатель; 

19 – пила ленточная; 20 - двигатель; 21 – щетки; 22-шкив ведущий.

ВНИМАНИЕ!

Для получения наилучших результатов пиления необходима приработка сверхострой режущей кромки. Рекомендуется начинать работу с усилием подачи 50% от расчетной. После 15-20 минут пиления, в течение последующих 20 минут увеличить нагрузку до 100%. Время приработки может увеличиваться, в зависимости от обрабатываемого материала.

При обнаружении неисправности в работе пилы необходимо отключить электропитание и до устранения неисправности пилу не включать.

Транспортировка

Машина должна транспортироваться от места получения до места установки и монтажа в упаковке предприятия-изготовителя всеми видами крытого транспорта в вертикальном положении, за исключением воздушного, в соответствии с правилами перевозки грузов, действующими на данном виде транспорта. 

Машина тестомесильная МТ-30_перемещение

После распаковки машины необходимо проверить комплектность поставки согласно п 1.3 Руководства по эксплуатации.

Подъем и перемещение пилы после распаковки производить при помощи грузозахватных приспособлений соответствующей грузоподъемности.

ПЛМ-240

Монтаж

Место установки пилы должно гарантировать сохранность и обеспечивать удобство работы при ее эксплуатации и техническом обслуживании, а также должно соответствовать нормам, требованиям пожарной безопасности и техники безопасности. Должно исключать ее скольжение, опрокидывание, переворачивание при любом режиме работы.

Все работы по подсоединению машины к электрической сети и пуску в эксплуатацию должны быть выполнены представителем обслуживающей специализированной организации, в соответствии с действующими в Республике Беларусь: "Правилами устройства электроустановок", ТКП 181-2009 "Правилами технической эксплуатации электроустановок потребителей", "Межотраслевыми правилами по охране труда", либо в соответствии с аналогичными действующими нормативными документами страны-импортера. 

Гарантийные обязательства

Гарантийный срок - 24 месяца, исчисляется со дня ввода машины в эксплуатацию, но не позднее 6 месяцев со дня приобретения машины. 

Предприятие-изготовитель в период гарантийного срока устраняет отказы и неисправности в работе оборудования только при условии:

  1. Соблюдения всех требований "Руководства по эксплуатации" машины.
  2. Монтаж и ввод в эксплуатацию произведен специалистами сервисного центра, либо специалистами другой организации с письменного разрешения предприятия-изготовителя. 
  3. Передачи (пересылки) предприятию-изготовителю копии оформленного в полном объеме "Акта ввода оборудования в эксплуатацию" в течение 10 дней со дня ввода машины в эксплуатацию для постановки оборудования на гарантийный учет.
  4. Проведение ежемесячного технического обслуживания согласно "Руководства по эксплуатации".
  5. Передачи (пересылки) предприятию-изготовителю оформленного в полном объеме "Акта-рекламации".

Работы по ежемесячному техническому обслуживанию, в соответствии с требованиями "Руководства по эксплуатации", не являются работами по гарантии и производятся за счет потребителя специализированными организациями по предварительно заключенному договору между ними.

При нарушении хотя бы одного из вышеуказанных пунктов предприятие-изготовитель снимает с себя гарантийные обязательства.

Примечание: оформленные "Акт ввода оборудования в эксплуатацию" и "Акт-рекламация" должны быть заверены печатью потребителя и предприятия, производящего ввод в эксплуатацию или ремонт и техническое обслуживание.